Wii, Nintendo gioca con brevetti Philips?

Wii, Nintendo gioca con brevetti Philips?

L'azienda olandese denuncia: Wii e i suoi controller adottano delle tecnologie brevettate. Si chiedono compensazioni e il blocco delle importazioni e delle vendite negli States
L'azienda olandese denuncia: Wii e i suoi controller adottano delle tecnologie brevettate. Si chiedono compensazioni e il blocco delle importazioni e delle vendite negli States

Pretende un risarcimento, chiede il blocco delle importazioni e delle vendite su tutto il territorio statunitense e un risarcimento ancora da fissare: Philips ha ingaggiato una battaglia brevettuale con Nintendo, chiamando in causa due brevetti su cui si fonderebbe l’intrattenimento offerto dalle varie incarnazioni della console Wii.

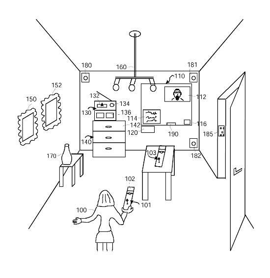
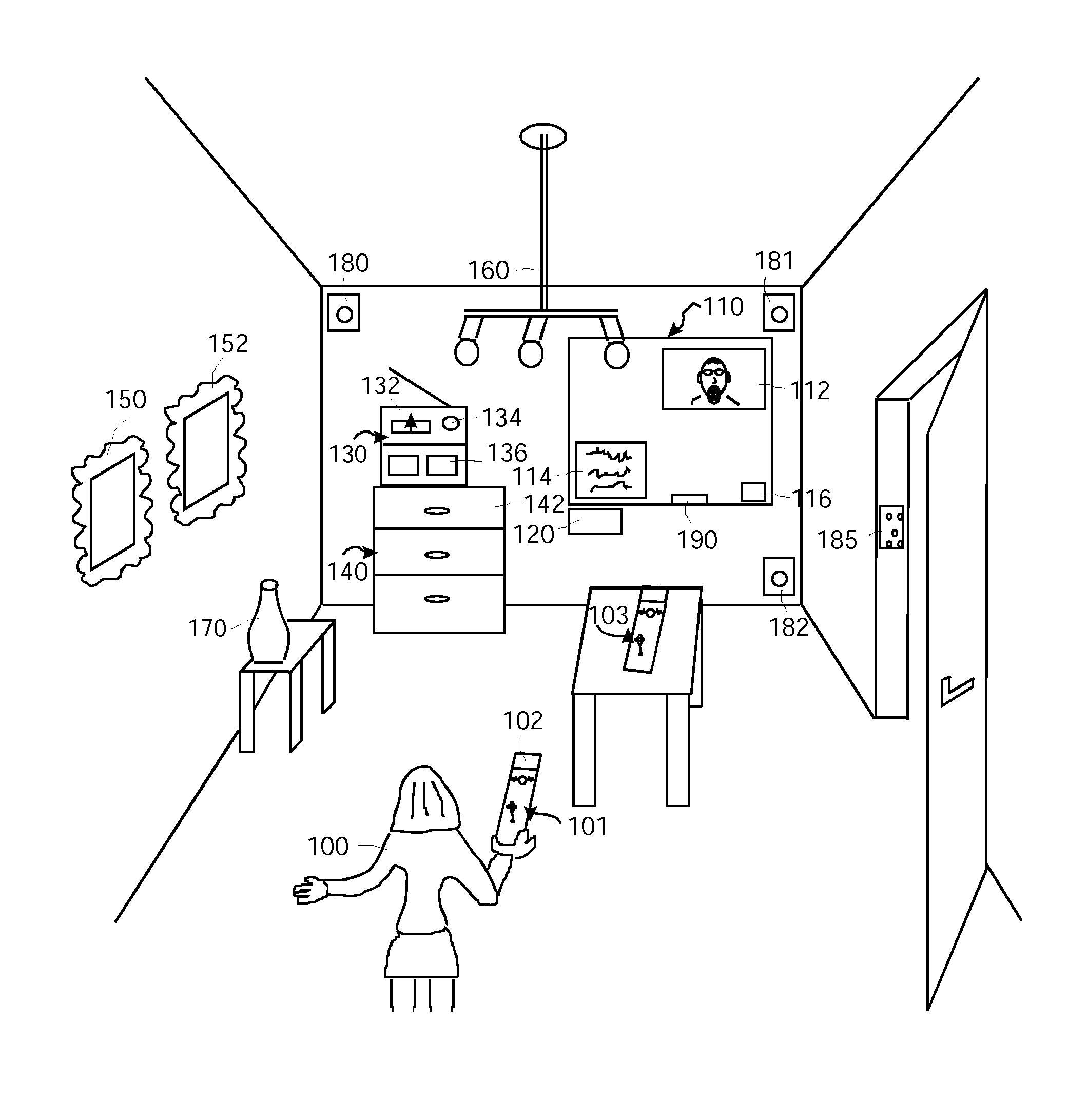
La denuncia , depositata presso una corte del Delaware, segue dei tentativi di negoziazione che si protraggono dal 2011 senza alcun risultato: oggetto del contendere sono due brevetti detenuti da Philips, che hanno per oggetto l’interazione tra il gamer e la console videoludica. Il titolo ‘379 , nei dettagli, descrive un sistema che, tracciando i movimenti di un individuo, li sa replicare sullo schermo; il titolo ‘231 , invece, illustra una interfaccia utente basata su un dispositivo di puntamento. Philips, che vanta la concessione dei brevetti rispettivamente nel 2001 e nel 2013, ritiene che l’interfaccia di Wii e i suoi controller si basino troppo pedissequamente sulla proprietà intellettuale che si è vista riconoscere dalle autorità statunitensi.

Brevetto Philips

L’azienda olandese punta il dito nello specifico contro le console Wii, Wii Mini e Wii U, e contro le periferiche Wii Remote Plus e Wii Remote, Nunchuk, MotionPlus, Balance Board, e GamePad per Wii U: l’azienda giapponese avrebbe intenzionalmente commercializzato questi prodotti senza chiedere né corrispondere alcuna licenza per compensare il lungo lavoro di ricerca e sviluppo che impegna Philips da anni in questo campo.

Per questo motivo Philips chiede al tribunale di avviare il processo, con cui vorrebbe ottenere il blocco delle importazioni e delle vendite di tutti i dispositivi menzionati, ma soprattutto delle compensazioni per la violazione brevettuale di cui sarebbe vittima. Se il tribunale desse ragione all’azienda olandese potrebbe riconoscerle danni triplicati.

Nintendo, già in passato accusata da altri soggetti per i brevetti che coprirebbero tecnologie impiegate nelle console Wii, non ha ancora offerto commenti riguardo al nuovo fronte di scontro aperto con Philips.

Gaia Bottà

fonte immagine

Link copiato negli appunti

Ti potrebbe interessare

Pubblicato il
16 mag 2014
Link copiato negli appunti