Microsoft, un caschetto per giocare

Microsoft, un caschetto per giocare

Spunta il brevetto di un accessorio per la realtà virtuale depositato nel 2010. Un misterioso sistema composto da occhiali e caschetto, utilizzabile anche in mobilità
Spunta il brevetto di un accessorio per la realtà virtuale depositato nel 2010. Un misterioso sistema composto da occhiali e caschetto, utilizzabile anche in mobilità

Il mondo dell’entertainment sta spingendo da anni sui “visori” per film e videogame, ma questi miniaturizzati monitor da poggiare sulla punta del naso non hanno mai preso piede. Anche Microsoft ha richiesto il brevetto di un caschetto in stile realtà virtuale, nell’autunno del 2010.

caschetto

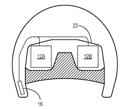
Il sistema in questione, composto da occhiali ed elmetto, non punterebbe soltanto al gemellaggio con Xbox e Kinect, per un utilizzo prettamente casalingo, ma si metterebbe anche al servizio dei dispositivi mobile. Per le due lenti montate sulla mascherina si parla infatti di trasparenza regolabile, stratagemma che consentirebbe di giocare con la realtà aumentata mantenendo la consapevolezza dell’ambiente circostante.

Gli altri dati tecnici del brevetto Microsoft dichiarano che il sistema può proiettare due immagini separate in formato 16:9, per gestire il 3D stereoscopico, e che l’utente finale avrà comunque l’impressione di guardare uno schermo da 21 pollici di diagonale, posizionato a circa un metro di distanza.

I passi avanti compiuti dagli occhiali-monitor più recenti sono innegabili, soprattutto per quanto riguarda definizione e trasparenza. Il paragone con il fallimentare Virtual Boy di Nintendo ovviamente non regge, ma restano i dubbi per quanto riguarda un 3D (casalingo) gestito in questo modo: gli occhialini da indossare sono obiettivamente scomodi e una parte dell’industria sta lavorando per sostituirli con schermi auto-stereoscopici che seguano lo sguardo dello spettatore.

Roberto Pulito

Link copiato negli appunti

Ti potrebbe interessare

Pubblicato il
21 mar 2012
Link copiato negli appunti