Nintendo, Switch verso la VR

Nintendo, Switch verso la VR

Nintendo sembra voler entrare nel mondo della realtà virtuale accessoriando la console Switch con un sistema per immergersi nel gioco. A dare indizi, un recente brevetto
Nintendo sembra voler entrare nel mondo della realtà virtuale accessoriando la console Switch con un sistema per immergersi nel gioco. A dare indizi, un recente brevetto

È ormai assodato che le maggiori case produttrici di hardware e software videoludico stiano puntando molto sulle promesse della realtà virtuale ed aumentata e, stando ad alcuni brevetti emersi sul forum di NeoGaf, anche Nintendo starebbe lavorando per portare questo tipo di intrattenimento su Switch.


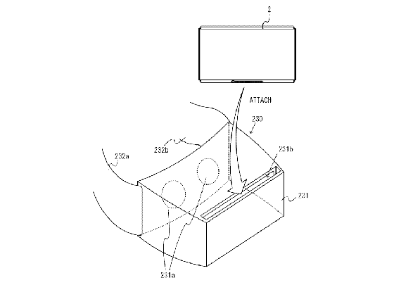
I brevetti, presentati a giugno presso il U.S. Patent and Trademark Office, mostrano numerosi dettagli sulla console, sul funzionamento e sui sistemi di controllo. Fra tutti però salta all’occhio quello che sembrerebbe a tutti gli effetti un caschetto per la realtà virtuale.

Quest’ultimo si differenza dall’ Oculus Rift e dall’ Htc Vive per l’assenza di sensori di movimento e dell’hardware che permette lo streaming delle immagini e seguirà le orme del CardBoard di Google fungendo da semplice alloggio per lo schermo della console.


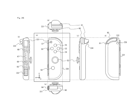
Il gameplay verrà guidato con la mediazione dei Joy-Con, i controller agganciabili alla struttura, che molto probabilmente includeranno alcune caratteristiche del Wii-Remote come motion tracking e position tracking.
Nei brevetti viene inoltre menzionato il supporto alla vibrazione e a quello della tecnologia NFC.


Di Switch , a parte una parziale anteprima al The Tonight Show e la collaborazione con Nvidia , si sa ancora poco. La casa di Kyoto chiarirà probabilmente ogni dubbio nel corso dell’imminente presentazione della console.

Pasquale De Rose

fonte immagini: 1 , 2

Link copiato negli appunti

Ti potrebbe interessare

Pubblicato il
19 dic 2016
Link copiato negli appunti