Il 2020 sarà l’anno dei dispositivi pieghevoli e di quelli dual screen. Microsoft ha scelto di puntare su questa seconda tipologia, annunciando che entro dicembre porterà sul mercato Surface Neo e Surface Duo: entrambi provvisti di due display separati, saranno dotati rispettivamente del sistema operativo Windows 10X e della piattaforma Android.
La cerniera di Surface Neo e Duo in un brevetto
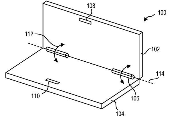
Torniamo a parlarne oggi poiché nel database di WIPO è spuntato un brevetto che ne descrive la cerniera, elemento essenziale del design che sarà posizionato proprio tra gli schermi, consentendo loro di ruotare fino a 360 gradi. In questo modo i Surface potranno essere utilizzati in modalità differenti: Neo, ad esempio, come laptop mostrando su un pannello l’interfaccia di Windows e sull’altro una tastiera oppure come un tablet quando posizionati l’uno di fianco all’altro.

La proprietà intellettuale è chiamata “Adjustable closure magnet for hinged device with assisted open” (potremmo tradurlo come “Chiusura magnetica regolabile per dispositivi con cerniera e apertura assistita”). Un appellativo che include un riferimento diretto alla presenza di due magneti nascosti in modo da rendere più agevole l’apertura e la chiusura del dispositivo. Un sistema che dovrebbe essere in dotazione a entrambi i modelli, Surface Neo e Surface Duo.
Optare per un dual screen anziché per un pieghevole, secondo Microsoft (e non solo), garantisce alla scocca e alle componenti interne una migliore resistenza nel tempo alle sollecitazioni. Il successo di una simile soluzione a livello commerciale è ad ogni modo tutto da verificare: dipenderà in buona parte dal prezzo di vendita (che immaginiamo non essere contenuto almeno inizialmente), poi dalla disponibilità di software ottimizzato per sfruttare al meglio il doppio schermo con gli elementi dell’interfaccia posizionati per semplificare l’accesso a comandi e funzionalità.